为简化社群运营中的好友添加流程,MsgHelper重磅推出“自动添加微信群成员为好友”功能。您只需简单配置,即可批量、自动地向指定群成员发送好友申请,极大提升效率。
一、 功能概述
此功能使您能够从已导入系统的微信群中,筛选目标成员,并模拟人工操作,自动、有间隔地向这些成员发送好友申请。整个流程清晰可控,并提供详细的操作记录以供查询。
二、 前提条件
在开始使用前,请确保:
- 您需要添加为好友的群成员信息已成功导入到MsgHelper系统中。
- 准备好您要用于发送好友申请的微信账号已登录并受MsgHelper管理。
三、 功能入口与成员选择

- 筛选群成员:在“联系人”页面,首先将“联系人类型”设置为【群成员】,然后在“所属群”中选择您想要操作的那个微信群(例如:测试群4)。系统将自动列出该群的所有已导入成员。
- 勾选目标成员:在生成的成员列表中,通过勾选每个成员左侧的复选框,精确选择您希望添加为好友的成员。
四、 配置并执行批量添加

- 启动功能:完成成员选择后,点击列表上方的红色功能按钮【批量加好友】。
- 详细参数设置:系统将弹出“批量添加好友”配置窗口(见下图),请按需填写:
- 目标微信:确认由哪个微信账号执行操作(如:李磊)。好友申请:填写发送好友申请时的验证信息(例如:“你好”)。权限:设置添加成功后对方看到的朋友圈权限(建议选择“朋友圈”以增加通过率)。间隔时间:为确保操作稳定,模拟人工行为,请务必设置。
- 操作间隔:处理每个成员之间的等待时间(如:3秒)。循环间隔:完成一轮所有操作后的休息时间(如:5秒)。
- 目标微信:确认由哪个微信账号执行操作(如:李磊)。好友申请:填写发送好友申请时的验证信息(例如:“你好”)。权限:设置添加成功后对方看到的朋友圈权限(建议选择“朋友圈”以增加通过率)。间隔时间:为确保操作稳定,模拟人工行为,请务必设置。
- 开始执行:确认所有参数无误后,点击蓝色的【确定】按钮。MsgHelper将开始自动执行任务。
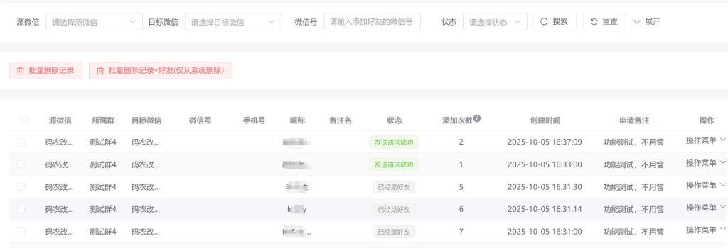
五、 查看添加结果与记录
任务执行完毕后,您可以在系统的【添加记录】页面查看所有操作的详细结果。

在“添加记录”页面查看添加状态与详情在此页面,您可以:
- 筛选查询:通过“源微信”、“状态”等条件精确筛选记录。
- 查看状态:清晰了解每条申请的结果,如“发送请求成功”、“已经是好友”等。
- 管理记录:使用“批量删除记录”等功能对历史记录进行管理。
立即体验,高效扩展您的微信好友网络!
msghelper.top
